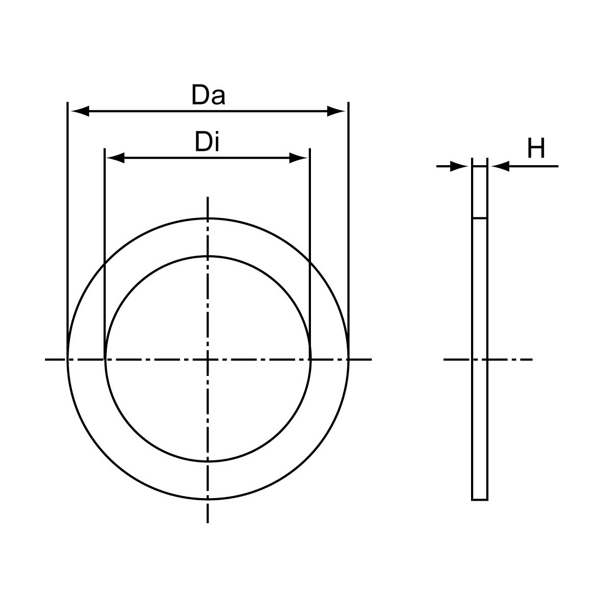
Sealing ring Metric

For improved sealing on the connecting thread.

Material:
Polyethylene (PE-LD)
Temperature range:
-30°C....+90°C
Colour:
Transparent
Halogen-Free:
Yes